1、線扎的加工工藝
1.1 必要性
電子設備的電氣連接主要依靠各種規格的導線來實現。在一些較復雜的電子設備中,連接的導線多且復雜,如果不加任何整理,就會顯得十分混亂,即不美觀也不便于查找。為了簡化裝配結構,減少占用空間,便于檢查、測試和維修等,常常在產品裝配時,將相同走向的導線綁扎成一定形狀的線扎(又稱線把、線束)。采用這種方式,可以將布線和產品裝配分開,便于專業生產,減少錯誤,從而提高整機裝配的安裝質量。
1.2 線扎的走線要求
①不要將信號線和電源線捆綁在一起,以防止信號相互干擾;
②輸入、輸出的導線不要排在一個線束內,以防止信號回授。若必須排在一起時,應使用屏蔽導線。射頻電纜不排在線束內,應單獨走線;
③導線束不要形成回路,以防止磁力線通過環形線,產生磁、電干擾;
④接地點應盡量集中在一起,以保證它們是可靠的同位地;
⑤導線束應遠離發熱體并且不要在元器件上方走線,以免發熱元器件破壞導線絕緣層及增加更換元器件的難度;
⑥盡量走最短距離的路線,轉彎處取直角以及盡量在同一平面內走線
1.3 扎制線扎的要領
①扎線前,應先確認導線的根數和顏色,以防止扎制時遺漏導線,同時便于檢查線扎的錯誤。
②線扎拐彎處的半徑應比線束直徑大2倍以上。
③導線長短要合適,排列要整齊。從線扎分支處到焊點間應有10-30mm的余量,扎制導線時不要拉得過緊,以免因振動將導線或焊盤拉斷。
④不能使受力集中在一根導線上。多根導線扎制時,如果只用力拉其中的一根線,力量就會集中在導線的細弱處,導線就可能被拉斷。另外,當力量集中在導線的連接點時,可能會造成焊點脫裂或拉壞與之相連的元器件。
⑤扎線時松緊要適當。太緊可能損傷導線,同時也造成線束僵硬,使導線容易斷裂。太松會失去線扎的效果,造成線束松散或不挺直;
⑥線扎的綁線節或扎線搭扣應排列均勻整齊。兩綁線節或扎線扣之間的距離L應根據整個線扎的外徑D來確定,見表1。綁線節或扎線扣頭應放在線束下面不容易看見的背面。
表1 綁扎間距

1.4 線扎圖
線扎圖是按線束比例繪制的,包括線束視圖和導線數據表及附加的文字說明等。實際制作時,要按圖放樣制作胎模具,如圖所示。

圖1 制作線扎的配線板
1.5 線扎的分類
線扎有軟線扎和硬線扎兩種,由產品的結構和性能決定。
①軟線扎
一般用于產品中各功能部件之間的連接,由多股導線、屏蔽線、套管及接線連接器等組成,一般無需捆扎,只要按導線功能進行分組,將功能相同的線用套管套在一起。圖2為某軟線扎的外形圖,圖3和表2是圖2所示軟線扎的接線圖和接線表,它們確切地表述出線束的所有參數。

圖2 軟線扎外形圖
②硬線扎
硬線扎多用于固定產品零部件之間的連接,特別是在機柜式設備中使用較多。它是按產品需要將多根導線捆扎成固定形狀的線束,這種線扎必須有實樣圖,如圖4所示,對應的接線線表如表3。

圖3 硬線扎圖示例
2、線束綁扎方法
2.1 線繩捆扎法
線繩捆扎法是指用線繩(如棉線、亞麻線、尼龍線等)將多根導線捆綁在一起構成線束的方法。具體方法見圖5所示。線束綁扎完畢,應涂上清漆,有時也只在各線節處涂清漆。

圖4 起始線節的打結

圖5 一般中間線節的打結

圖6 只繞一圈的中間線節打結
對于較粗的線束或帶有分支線束的復雜線束,各線節的圈數應適當增加,特別是在分支拐彎處應多繞幾圈線繩。如圖所示。

圖7 向接線板處的分支線的打結

圖8 兩分支線合并成一支線的拐彎處的打結

圖9 一分支線拐彎處的打結
2.2 專用線扎搭扣法
專用線扎搭扣法是指用專用線扎搭扣將多根導線綁扎的方法。扣接法捆扎線束,既可以用手工拉緊,也可以用專用工具緊固。常用的線扎搭扣及扣接形式如圖7所示。

圖10 線束線扎搭扣的形狀及捆扎法
2.3 膠合黏接法
膠合黏接法是指用膠合劑將多根導線黏接在一起構成線束的方法,用于導線數量不多的小線扎綁扎方法。如圖8所示。

圖11 導線黏接在一起構成線扎
2.4 套管套裝法
套管套裝法是指用套管將多根導線套裝在一起構成線束的方法,特別適合于裸屏蔽導線或需要增加線束絕緣性能和機械強度的場合。使用的套管有塑料套管、熱縮套管、玻纖套管等,還有用PVC管來做套管的。現在又出現了專用于制作線束的螺紋套管,使用非常方便,特別適合于小型線束和活動線束。
2.5 塑料線槽排線
有些大中型設備用塑料線槽排線。線槽固定在機箱上,槽兩側有很多出線孔,將準備好的導線一根一根排在槽內,可不必綁扎。導線排完后再蓋上蓋,也很整齊。參見圖9所示。

圖12 塑料線槽排線
2.6 經常活動的線束處理
經常活動的線束應擰成150左右的角度,如圖13所示。這樣做的目的是線束彎曲時各導線受力均勻。為了防止磨損,可在線束外加纏聚氯乙烯膠帶,也可用尼龍卷槽繞在活動線束上,如圖14所示。

圖13 線束扭成150角

圖14 線束加尼龍卷槽
3、電纜與插頭、插座的連接
各導線在焊接到焊片之前所留長短應合適,電纜線束在插頭座上不能產生自由松動現象,電纜線束的彎曲半徑不得小于線束直徑的兩倍,在插頭座根部的彎曲半徑不得小于線束直徑的五倍,以防止電纜折斷。
3.1 非屏蔽電纜與插頭、插座的安裝
如圖,在3處將綿織套剪去適當一段,用棉紗線綁扎,涂以清漆,再套上橡皮圈2。將插頭座拆開,把后環先套在電纜上。將每根導線套上絕緣套管,分別焊接到各焊片上,焊完之后將套管推到焊片上。最后安裝插頭座外殼,擰緊螺釘,旋好后環。由于橡皮套緊緊卡在線束與后環之間,使線束不宜松動。

圖15 非屏蔽電纜在插頭座的安裝(1為絕緣套管;2為電纜用橡皮圈;3為用棉紗線綁扎并涂清漆)
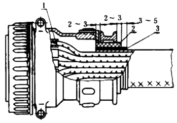
3.2 屏蔽電纜與插頭、插座的安裝
如圖,先剪去適當長度的屏蔽層,用浸蠟棉線或亞麻線、尼龍線等綁扎線束。拆開插頭座,將后環套在電纜上,然后將一圈墊紙套過屏蔽層,使屏蔽層端線均勻散開,焊在墊圈上。把絕緣套管套在各導線上,將導線分別焊接在各焊片上。焊完之后把套管推到焊片上,再安裝拆下的外殼,緊固好螺釘,將后環擰在一起,最后在后環外纏棉線并涂漆。

圖16 屏蔽電纜在插頭座的安裝(1為錫焊;2為用棉線綁扎,綁扎寬度不應小于4mm)
3.3 快卸插頭座的安裝
如圖,先將各導線端頭處理好。擰下插頭座的尼龍套,將每根導線套上套管,把卸下的尼龍套套過導線。在各導線焊接完畢后,把尼龍套擰上,將導線排列整齊,澆注常溫熟化有機硅。待有機硅凝固后,放好套管,用棉線綁扎線束,涂上清漆。

圖17 XK型快卸插頭座的安裝(1為錫焊;2為尼龍套;3為常溫熟化有機硅澆注料;4為套管;5為用棉紗線扎緊)
相關閱讀
儀表盤、儀表操作臺、PLC柜、DCS系統柜盤內配線要求
