LD301是SMAR公司研制的基地式儀表,它是一種測量差壓、絕壓、表壓、液位和流量的智能電動基地式儀表。昌暉儀表在本文從硬件和軟件兩個方面介紹SMAR電動基地式儀表LD301的構成原理。
1、基地式儀表LD301硬件構成原理
基地式儀表LD301由傳感器和主電路板組成,其組成方框圖如圖1所示,傳感器采用電容傳感器作為壓力敏感元件。圖1中,PH、PL為被測差壓。

圖1 基地式儀表LD301硬件組成方框圖
①電子轉換器
基地式儀表LD301有兩個電子轉換器,一個是將電容轉換為頻率(或數字信號),而電容是被測差壓的函數;另一個是將靜壓(被測介質的工作壓力)轉換為數字信號。
②溫度轉換器
溫度轉換器將傳感器工作溫度轉換為數字信號,進行工作溫度變化的補償,以提高測量精度。
③中央處理單元
中央處理單元是基地式儀表LD301的智能核心,擔負著測量范圍調整、功能設定、比例積分微分控制、輸出控制、模擬傳輸和HART通信等任務。
④HART調制解調器
HART調制解調器負責在主設備和從設備之間進行數據交換。變送器從供電電流中解調信息,并把回應信息調制在電流上。
⑤數字協處理器
⑥顯示控制器
顯示控制器接收CPU的數據并使液晶顯示器的相應字段變亮,同時,控制器驅動背景光和字段的控制信號。
⑦本機零點/量程調整
基地式儀表LD301上有兩個用于調整的開關,利用磁性激活。該磁性工具無需通過機械的或電氣的接觸即可激活開關。
2、基地式儀表LD301軟件構成原理
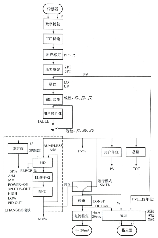
基地式儀表LD301軟件構成方框圖如圖2所示。

圖1 基地式儀表LD301軟件組成方框圖
①數字濾波
為了使傳感器輸出信號平滑,設置了一個時間常數可調的低通濾波器。低通濾波器的時間常數即對應于l00%的階躍壓力(或差壓)輸入而輸出達到63.2%所需時間。
②工廠標定
基地式儀表在出廠前,對敏感部件隨壓力和溫度變化的特性進行了標定,并將標定的特性存儲在敏感部件里的EEPROM中。
③用戶標定
用5個特性調整點P1-P5對基地式儀表LD301的原始特性進行修正。
④壓力整定
壓力整定即通過零點壓力和上限壓力調整,來校正基地式儀表LD301的零點和上限長期漂移或改變以及安裝或超壓所帶來的讀數誤差。
⑤量程
基地式儀表LD301作為變送器使用時,應使壓力值與輸出電流相對應,即下限壓力值對應于4mA,上限壓力值對應于20mA;基地式儀表作為控制器(PID方式)使用時,應使壓力值與輸出的百分數值相對應,即下限壓力值對應于0,上限壓力值對應于100%。過程變量的工程單位在UNIT中選擇。
⑥功能
功能取決于應用按照壓力應用變送器方式時的輸出和控制器PV具有線性(用于壓力、差壓或液位的測量)、平方根(用于產生差壓的流量測量)、三次或五次冪的平方根(用于堰式或敞口水渠式的流量測量)等特性。功能用FUNCTION選擇。
⑦用戶線性化
基地式儀表LD301輸出(4-20mA過程變量)對輸入(應用壓力)按照2-16點列表,輸出由這些點按插值法計算。在TABLE POINTS功能中,這些點以Xi范圍的百分數和輸出Yi的百分數給出,它可用來線性化。例如,通過液位測量來計算體積或質量,在流量測量中對雷諾數的改變進行修正。
⑧設定值
設定位可以在手持終端的主菜單或稱程序樹的INDIC中調整。當基地式儀表作為控制器使用時,設定位SP可以設定為跟蹤過程變量PV的狀態,以便使從手動到自動實現無擾切換。這個程序塊在SP跟蹤中起作用。
⑨PID
首先根據控制器在ACTION組態中的作用(正或反)計算SP-PV或PV-SP,然后計算控制變量(或操作變量)MV。
⑩自動/手動
自動/手動方式選擇在INDIC中進行,手動狀態的輸出變量MV由用戶調整。MV必須在上、下限值(由用戶調整)之間;POWER-ON被用來決定在電源開關合上時的控制器方式,即確定是否在手動狀態。
?限位
對基地式儀表LD301輸出的控制變量MV設定最高值與最低值,使其在任何情況下都不會超過設定值此外,還可對輸出控制變量的變化率(%/s)進行限制,使其不超過設定值。
?輸出
這個程序塊是用來選擇基地式儀表LD301輸出電流4-20mA是與過程變量相對應,還是與控制變量相對應,這取決于在0P-MODE中的組態。這個程序塊還含有輸出常量(CONST)電流的功能。有了這個功能不僅可以為控制系統正確檢查二次儀表提供調校手段,還可以為控制系統的開環調試帶來方便。輸出電流實際上被限制為3.9-21mA。
?電流調整
4mA調整和20mA調整用來使基地式儀表LD301輸出電流遵守電流標準,以免偏差出現。
?用戶單位
過程變量由0%-100%的改變可用工程單位讀出并為顯示和通信所利用。例如,可以從液位或差壓的各自測量中得到一個體積或流量指示,也可選擇合適的單位。
?總量
重新置位后,基地式儀表LD301可根據液位來累加計算流體的總量,這樣可獲得被傳輸流體的體積和質量。
(16)顯示
在基地式儀表LD301的DISPLAY中可組態成兩個示值間交替顯示的方式。
相關閱讀
電動基地式儀表和氣動基地式儀表的比較
