昌暉單法蘭液位變送器采用瑞士原裝ROCKSENSOR壓力傳感器和電路生產,用于敞口容器的液位測量。單法蘭液位變送器的膜盒是用于防止管道內介質直接進入差壓變送器的壓力傳感器組件中,它與變送器之間采用硅油等填充液傳遞壓力。
YR-ER101單法蘭液位變送器,用于測量液體、氣體或蒸汽的液位、密度、壓力以及流量,然后將其轉變成4-20mA+HART電流信號輸出。并提供HART/Profibus PA/RS485等通訊協議。
YR-ER101液位變送器的測量范圍(未遷移時)為0-1kPa-3MPa。液位法蘭的額定壓力分別為:1.6/4MPa、6.4MPa、10MPa、150psi、300psi或600psi。
技術優勢
◆昌暉單法蘭液位變送器中心傳感單元采用來自瑞士的全球領先的高精度硅技術,鉑金級±0.05%
◆雙過載保護膜片設計,單法蘭液位變送器單向過壓最高可達滿量程的1166倍
◆領先世界的微小量程表壓變送器抗過載性能
◆單法蘭液位變送器溫度性能最優在±0.04%/10K內,溫度影響變化極小
◆單法蘭液位變送器最高100:1的量程比調節,適應性更廣
◆單法蘭液位變送器EMC符合GB/T18268.1-2010
工作原理與結構
YR-ER101單法蘭液位變送器結構上由YR-ER101系列差壓變送器和經焊接安裝的液位法蘭組成。其工作原理與YR-ER101系列差壓變送器相同(參見YR-ER101系列差壓變送器技術規格書),只是正壓側壓力傳遞路徑略有不同:作用在高壓側的壓力,首先經液位法蘭上的膜片和填充液,再經變送器本體,最后到達測量傳感器的高壓側。
輸入
1、測量參數
差壓、液位
2、測量范圍
下限值:-100%URL起(連續可調)
上限值:至+100%URL(連續可調)
3、量程
①表1 單法蘭液位變送器量程代碼與量程范圍關系對照表

②表2 單法蘭液位變送器液位法蘭與最小量程關系對照表

單法蘭液位變送器的最小量程應為表1和表2中最小量程的較大值。調節的量程不得小于最小量程。液位變送器的最大量程應為變送器本體最大量程與液位法蘭額定壓力兩者的最小值。
輸出
1、輸出信號
2線制,4-20mA+HART輸出,數字通訊,HART協議加載在4-20mADC信號上
輸出信號極限:Imin=3.9mA,Imax=20.5mA
2、報警電流(模式可設置)
低報模式(最小):3.6mA
高報模式(最大):21mA
不報模式(保持):保持故障前的有效電流值
報警電流標準設置:高報模式
3、響應時間
單法蘭液位變送器的放大器部件阻尼常數為0.1s;傳感器時間常數為0.1m-1.6s,取決于多參數差壓變送器量程及量程比。附加的可調時間常數為0.1-60s。對非線性輸出(如平方根功能)的影響取決于該功能,并可據此計算
一般條件
1、單法蘭液位變送器安裝條件
通過液位法蘭變送器可直接固定于任何位置。最佳狀態是使過程法蘭軸處于垂直狀態,位置偏差將產生可校正的零位偏移。電子表殼最大可旋轉360°,定位螺釘可將其固定于任何位置
2、環境條件
①環境溫度
最低:取決于填充液
最高:85℃
帶液晶顯示、氟橡膠密封圈時-20~65℃
②儲存溫度/運輸溫度
最低:取決于填充液
最高:85℃
③相對濕度
0~100%
④抗沖擊
加速度:50g
持續時間:11ms
⑤抗震動
2g至500Hz
3、過程介質極限
①介質溫度極限
-30~180℃
②單法蘭液位變送器本體壓力極限
從3.5kPa絕對壓力至額定壓力,保護壓力可大于額定壓力的1.5倍,同時加于單法蘭液位變送器兩側
③液位法蘭額定壓力
ANSI標準:150psi~600psi
DIN標準:PN1.6MPa-PN10MPa
④單法蘭液位變送器單向過載極限
低壓側為變送器本體額定壓力,高壓側為液位法蘭額定壓力,可能出現可修正的零點漂移
⑤防爆性能
⑥電磁兼容

⑦單法蘭液位變送器重量
DN50/2"的單法蘭液位變送器約7~10kg;DN80/3"的單法蘭液位變送器約8~11kg;DN4"約9~12kg
單法蘭液位變送器安裝
1、電源及負載條件
電源電壓為24V
R≤(Us-12V)/Imax kΩ
其中 Imax=23 mA
最大電源電壓:36VDC
最小電源電壓:9VDC(低電壓版),13.5VDC(背光LCD液晶顯示、OLED顯示)
數字通訊負載范圍:230-600Ω
2、電氣連接
M20×1.5或NPT1/2內螺紋,標配M20×1.5尼龍電纜密封扣,接線端子適用于0.5~2.5mm2導線
3、過程連接
液位變送器低壓側有NPT1/4和UNF7/16"內螺紋。變送器高壓側的液位法蘭符合ANSI標準或DIN標準??芍苯影惭b,參照表3
表3 液位法蘭結構尺寸表

4、外殼防護等級
IP67
物理特性
測量膜盒:不銹鋼 316L
膜片:不銹鋼316L、哈氏合金C、鉭膜片、PFA、PTFE覆膜
過程法蘭:不銹鋼304
填充液:硅油、植物油
密封圈:丁腈橡膠(NBR)、氟橡膠(FKM)、聚四氟乙烯(PTFE)
變送器外殼:鋁合金材質、外表噴涂環氧樹脂;不銹鋼外殼可選
外殼密封圈:丁腈橡膠(NBR)
銘牌:不銹鋼304
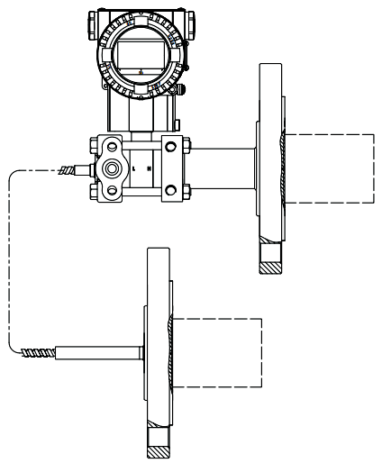
單法蘭液位變送器外形尺寸


液位變送器低壓端過程連接
1、1/2NPT不銹鋼橢圓形法蘭(代碼1)

2、M20×1.5不銹鋼丁字型接頭(代碼2)

單法蘭液位變送器電氣連接

關于單法蘭液位變送器的零點遷移
1、單法蘭液位變送器不遷移場景
單法蘭液位變送器,只能用于敞口容器的液位測量。
當單法蘭液位變送器PT與下法蘭A位于同一高度時:

◆儀表量程:△P=ρ×g×H0
◆零液位時:實際液位H=0,壓力變送器壓力P=0
◆滿液位時:實際液位H=H0,壓力變送器壓力P=ρ×g×H0,故單法蘭液位變送器的量程為0~ρ×g×H0
◆當單法蘭液位變送器PT與下法蘭A位于同一高度時,訂貨量程為△P=ρ×g×H0的單法蘭液位變送器量程不需要遷移。
2、單法蘭液位變送器正遷移場景
單法蘭液位變送器,只能用于敞口容器的液位測量。
當可變化的液位高于單法蘭液位變送器PT安裝高度時:

◆儀表訂貨量程:△P=0~ρ×g×H0
◆零液位時:實際變化液位H0=0,單法蘭液位變送器壓力P=ρ×g×H1
◆滿液位時:實際液位H=H0+H1,壓力變送器壓力P=ρ×g×H0+ρ×g×H1,故正遷移后單法蘭液位變送器的量程為ρ×g×H1至ρ×g×H0+ρ×g×H1
◆當可變化的最低液位高于單法蘭液位變送器PT安裝高度時,訂貨量程為△P=0~ρ×g×H0,單法蘭液位變送器需要正遷移ρ×g×H1。正遷移后單法蘭液位變送器4-20mA輸出信號對應的是可變化液位的高度(ρ×g×H0),而不是敞口容器實際液位高度。假如用戶需要顯示敞口容器實際液位高度,則需要在液位顯示儀表或DCS上加上不變化的液位高度(ρ×g×H1),即實際液位高度=ρ×g×H0+ρ×g×H1
單法蘭液位變送器選型表[1]
單法蘭液位變送器完整型號包含本體選型、液位變送器法蘭部分選型和液位變送器參考側法蘭部分選型(可選項)三個部分,下面詳細介紹:
1、液位變送器的本體選型
YR-ER101-①②④⑤⑥⑦⑧⑨???-?
①精度
[B]:基本誤差±0.075%
[C]:基本誤差±0.1%
②量程
[B]:0-2kPa~6kPa(0-200~600mmH2O)/(0-20~60mbar)
[C]:0-4kPa~40kPa(0-400~4000mmH2O)/(0-40~400mbar)
[D]:0-2.5kPa~250kPa(0-0.25~25mH2O)/(0-25~2500mbar)
[F]:0-30kPa~3MPa(0-3~300mH2O)/(0-0.3~30bar)
③靜壓傳感器
[0]:無
④膜片材質/填充液
[A]:不銹鋼316L/硅油
⑤額定工作壓力
[1]:16MPa
⑥負腔過程連接
[LN]:1/4英寸NPT及7/16英寸UNF螺紋孔,無泄放閥
[LB]:1/4英寸NPT及7/16英寸UNF螺紋孔,泄放閥裝于法蘭后部端面
[LB]:1/4英寸NPT及7/16英寸UNF螺紋孔,泄放閥裝于法蘭側面上部
[LD]:1/4英寸NPT及7/16英寸UNF螺紋孔,泄放閥裝于法蘭側面下部
[LR]:7/16英寸UNF螺紋孔,正壓測液位法蘭,負壓側遠傳法蘭
⑦負腔接液密封材質
[N]:丁腈橡膠(NBR)
[F]:氟橡膠(FKM)
[P]:聚四氟乙烯(PTFE)
⑧特殊功能
[F]:平方根輸出
[P]:聚四氟乙烯(PTFE)
[X]:特殊定制
⑨安裝支架
[N]:無
⑩負腔過程連接附件
[N]:無
[1]:1/2英寸NPT內螺紋不銹鋼橢圓形法蘭
[2]:M20×1.5外螺紋不銹鋼丁字形接頭
?液晶顯示
[N]:無顯示
[2]:LCD背光液晶顯示(-20℃)
[3]:OLED顯示(-40℃)
?防爆選項
[N]:基本型
[A]:本安型,NEPSI
[D]:隔爆型,NEPSI
[B]:本安型,ATEX
[E]:隔爆型,ATEX
?位號標牌
[N]:無
[1]:位號位于銘牌內
[2]:懸掛式不銹鋼位號標牌
?使用說明書
[C]:單法蘭液位變送器配中文說明書
[E]:單法蘭液位變送器配英文說明書
?殼體選項
[N]:鋁合金殼體,電氣接口M20×1.5
[T]:鋁合金殼體,電氣接口NPT1/2(無電纜引入裝置及盲堵)
[S]:不銹鋼316殼體,電氣接口M20×1.5
?附加可選擇(-)
[V]:低電壓版
[1]:第三方檢測報告(5點檢測)
[2]:第三方檢測報告(9點檢測)
[M]:RS485-Modbus RTU通訊協議
[P]:Profibus PA通訊協議
2、液位變送器法蘭部分選型
液位變送器法蘭部分①-②③④⑤⑥
①接液密封裝置
[LT]:液位法蘭,無毛細管⊕側
②過程連接|標稱直徑|密封面形式|膜片/密封面材質
[A]:DN50 DIN 2501/HG20592|RF型 DN2526|不銹鋼316L
[B]:DN50 DIN 2501/HG20592|RF型 DN2526|哈氏合金C
[C]:DN50 DIN 2501/HG20592|RF型 DN2526|鉭(溫度≤200℃)
[H]:DN80 DIN 2501/HG20592|RF型 DN2526|不銹鋼316L
[I]:DN80 DIN 2501/HG20592|RF型 DN2526|哈氏合金C
[G]:DN80 DIN 2501/HG20592|RF型 DN2526|鉭(溫度≤200℃)
[R]:DN100 DIN 2501/HG20592|RF型 DN2526|不銹鋼316L
[S]:DN100 DIN 2501/HG20592|RF型 DN2526|哈氏合金C
[T]:DN100 DIN 2501/HG20592|RF型 DN2526|鉭(溫度≤200℃)
[D]:DN2″ANSI B 16.5/HG20615|RF型 ANSI B 16.5|不銹鋼316L
[E]:DN2″ANSI B 16.5/HG20615|RF型 ANSI B 16.5|哈氏合金C
[F]:DN2″ANSI B 16.5/HG20615|RF型 ANSI B 16.5|鉭(溫度≤200℃)
[K]:DN3″ANSI B 16.5/HG20615|RF型 ANSI B 16.5|不銹鋼316L
[L]:DN3″ANSI B 16.5/HG20615|RF型 ANSI B 16.5|哈氏合金C
[M]:DN3″ANSI B 16.5/HG20615|RF型 ANSI B 16.5|鉭(溫度≤200℃)
[N]:DN4″ANSI B 16.5/HG20615|RF型 ANSI B 16.5|鉭(溫度≤200℃)
[O]:DN4″ANSI B 16.5/HG20615|RF型 ANSI B 16.5|哈氏合金C
[P]:DN4″ANSI B 16.5/HG20615|RF型 ANSI B 16.5|鉭(溫度≤200℃)
③額定壓力|壓力等級|法蘭壓力標準|法蘭材質
[1]:PN1MPa/4MPa(DN50,DN80選)|DIN 2501/HG20592|不銹鋼304
[2]:PN6.4MPa(DN50,DN80選)|DIN 2501/HG20592|不銹鋼304
[3]:PN10MPa(DN50,DN80選)|DIN 2501/HG20592|不銹鋼304
[6]:Class150(DN2",DN3"選)|ANSI B 16.5/HG20615|不銹鋼304
[7]:Class300(DN2",DN3"選)|ANSI B 16.5/HG20615|不銹鋼304
[8]:Class600(DN2",DN3"選)|ANSI B 16.5/HG20615(不包括DN4″ANSI B 16.5)|不銹鋼304
[4]:PN1MPa/1.6MPa(DN100選)|DIN 2501/HG20592|不銹鋼304
[5]:PN2.5MPa/4MPa(DN100選)|DIN 2501/HG20592|不銹鋼304
[9]:Class150(DN4"選)|ANSI B 16.5/HG20615|不銹鋼304
[0]:Class300(DN4"選)|ANSI B 16.5/HG20615|不銹鋼304
[A]:PN1MPa/4MPa(DN50,DN80選)|DIN 2501/HG20592|不銹鋼316
[B]:PN6.4MPa(DN50,DN80選)|DIN 2501/HG20592|不銹鋼316
[C]:PN10MPa(DN50,DN80選)|DIN 2501/HG20592|不銹鋼316
[F]:Class150(DN2",DN3"選)|ANSI B 16.5/HG20615|不銹鋼316
[G]:Class300(DN2",DN3"選)|ANSI B 16.5/HG20615|不銹鋼316
[H]:Class600(DN2",DN3"選)|ANSI B 16.5/HG20615(不包括 DN4″ANSI B 16.5)|不銹鋼316
[D]:PN1MPa/1.6MPa(DN100選)|DIN 2501/HG20592|不銹鋼316
[E]:PN2.5MPa/4MPa(DN100選)|DIN 2501/HG20592|不銹鋼316
[I]:Class150(DN4"選)|ANSI B 16.5/HG20615|不銹鋼316
[J]:Class300(DN4"選)|ANSI B 16.5/HG20615|不銹鋼316
④連接形式
[F]:扁平式
[H]:插入式,接液膜片不銹鋼316L/插入長度50mm/筒體材質不銹鋼316
[I]:插入式,接液膜片不銹鋼316L/插入長度150mm/筒體材質不銹鋼316
[G]:插入式,接液膜片哈氏合金C/插入長度150mm/筒體材質不銹鋼316
[L]:插入式,接液膜片哈氏合金C/插入長度50mm/筒體材質不銹鋼316
[M]:插入式,接液膜片哈氏合金C/插入長度100mm/筒體材質不銹鋼316
[N]:插入式,接液膜片哈氏合金C/插入長度150mm/筒體材質不銹鋼316
⑤填充液
[S]:硅油/-30~200℃
[V]:植物油/0~250℃
[F]:氟油/-30~260℃
⑥接液法蘭膜盒面形式(可多選)
[NN]:無(溫度≤260℃)
[22]:DN50/2″上涂PFA(過氟烷基化物)(溫度≤260℃)
[23]:DN80/3″上涂PFA(過氟烷基化物)(溫度≤260℃)
[24]:DN100/4″上涂PFA(過氟烷基化物)(溫度≤260℃)
[32]:DN50/2″膜片貼PTFE膜(聚四氟乙烯膜)[2](溫度≤200℃)
[33]:DN80/3″膜片貼PTFE膜(聚四氟乙烯膜)[2](溫度≤200℃)
[34]:DN100/4″膜片貼PTFE膜(聚四氟乙烯膜)[2](溫度≤200℃)
[52]:DN50/2″316L上涂PFA(過氟烷基化物)(溫度≤260℃)(插入深度50mm)
[53]:DN80/3″316L上涂PFA(過氟烷基化物)(溫度≤260℃)(插入深度50mm)
[54]:DN100/4″316L上涂PFA(過氟烷基化物)(溫度≤260℃)(插入深度50mm)
[55]:DN50/2″316L上涂PFA(過氟烷基化物)(溫度≤260℃)(插入深度100mm)
[56]:DN80/3″316L上涂PFA(過氟烷基化物)(溫度≤260℃)(插入深度100mm)
[57]:DN100/4″316L上涂PFA(過氟烷基化物)(溫度≤260℃)(插入深度100mm)
[58]:DN50/2″316L上涂PFA(過氟烷基化物)(溫度≤260℃)(插入深度150mm)
[59]:DN80/3″316L上涂PFA(過氟烷基化物)(溫度≤260℃)(插入深度150mm)
[60]:DN100/4″316L上涂PFA(過氟烷基化物)(溫度≤260℃)(插入深度150mm)
[06]:防真空處理[3](溫度≥120℃,工作壓力≤50kPa abs.)
[72]:DN50/2″316L上鍍金
[73]:DN80/3″316L上鍍金
[74]:DN100/4″316L上鍍金
[08]:禁油處理
3、液位變送器參考側法蘭部分選型(可選項)
液位變送器參考側法蘭①-②③④⑤⑦⑧
①接液密封裝置
[RL]:帶毛細管低壓側
②過程連接|標稱直徑|密封面形式|膜片/密封面材質
[A]:DN50 DIN 2501/HG20592|RF型 DN2526|不銹鋼316L
[B]:DN50 DIN 2501/HG20592|RF型 DN2526|哈氏合金C
[C]:DN50 DIN 2501/HG20592|RF型 DN2526|鉭(溫度≤200℃)
[H]:DN80 DIN 2501/HG20592|RF型 DN2526|不銹鋼316L
[I]:DN80 DIN 2501/HG20592|RF型 DN2526|哈氏合金C
[G]:DN80 DIN 2501/HG20592|RF型 DN2526|鉭(溫度≤200℃)
[R]:DN100 DIN 2501/HG20592|RF型 DN2526|不銹鋼316L
[S]:DN100 DIN 2501/HG20592|RF型 DN2526|哈氏合金C
[T]:DN100 DIN 2501/HG20592|RF型 DN2526|鉭(溫度≤200℃)
[D]:DN2″ANSI B 16.5/HG20615|RF型 ANSI B 16.5|不銹鋼316L
[E]:DN2″ANSI B 16.5/HG20615|RF型 ANSI B 16.5|哈氏合金C
[F]:DN2″ANSI B 16.5/HG20615|RF型 ANSI B 16.5|鉭(溫度≤200℃)
[K]:DN3″ANSI B 16.5/HG20615|RF型 ANSI B 16.5|不銹鋼316L
[L]:DN3″ANSI B 16.5/HG20615|RF型 ANSI B 16.5|哈氏合金C
[M]:DN3″ANSI B 16.5/HG20615|RF型 ANSI B 16.5|鉭(溫度≤200℃)
[N]:DN4″ANSI B 16.5/HG20615|RF型 ANSI B 16.5|鉭(溫度≤200℃)
[O]:DN4″ANSI B 16.5/HG20615|RF型 ANSI B 16.5|哈氏合金C
[P]:DN4″ANSI B 16.5/HG20615|RF型 ANSI B 16.5|鉭(溫度≤200℃)
③額定壓力|壓力等級|法蘭壓力標準|法蘭材質
[1]:PN1MPa/4MPa(DN50,DN80選)|DIN 2501/HG20592|不銹鋼304
[2]:PN6.4MPa(DN50,DN80選)|DIN 2501/HG20592|不銹鋼304
[3]:PN10MPa(DN50,DN80選)|DIN 2501/HG20592|不銹鋼304
[6]:Class150(DN2",DN3"選)|ANSI B 16.5/HG20615|不銹鋼304
[7]:Class300(DN2",DN3"選)|ANSI B 16.5/HG20615|不銹鋼304
[8]:Class600(DN2",DN3"選)|ANSI B 16.5/HG20615(不包括DN4″ANSI B 16.5)|不銹鋼304
[4]:PN1MPa/1.6MPa(DN100選)|DIN 2501/HG20592|不銹鋼304
[5]:PN2.5MPa/4MPa(DN100選)|DIN 2501/HG20592|不銹鋼304
[9]:Class150(DN4"選)|ANSI B 16.5/HG20615|不銹鋼304
[0]:Class300(DN4"選)|ANSI B 16.5/HG20615|不銹鋼304
[A]:PN1MPa/4MPa(DN50,DN80選)|DIN 2501/HG20592|不銹鋼316
[B]:PN6.4MPa(DN50,DN80選)|DIN 2501/HG20592|不銹鋼316
[C]:PN10MPa(DN50,DN80選)|DIN 2501/HG20592|不銹鋼316
[F]:Class150(DN2",DN3"選)|ANSI B 16.5/HG20615|不銹鋼316
[G]:Class300(DN2",DN3"選)|ANSI B 16.5/HG20615|不銹鋼316
[H]:Class600(DN2",DN3"選)|ANSI B 16.5/HG20615(不包括 DN4″ANSI B 16.5)|不銹鋼316
[D]:PN1MPa/1.6MPa(DN100選)|DIN 2501/HG20592|不銹鋼316
[E]:PN2.5MPa/4MPa(DN100選)|DIN 2501/HG20592|不銹鋼316
[I]:Class150(DN4"選)|ANSI B 16.5/HG20615|不銹鋼316
[J]:Class300(DN4"選)|ANSI B 16.5/HG20615|不銹鋼316
④連接形式
[F]:扁平式
[H]:插入式,接液膜片不銹鋼316L/插入長度50mm/筒體材質不銹鋼316
[I]:插入式,接液膜片不銹鋼316L/插入長度150mm/筒體材質不銹鋼316
[G]:插入式,接液膜片哈氏合金C/插入長度150mm/筒體材質不銹鋼316
[L]:插入式,接液膜片哈氏合金C/插入長度50mm/筒體材質不銹鋼316
[M]:插入式,接液膜片哈氏合金C/插入長度100mm/筒體材質不銹鋼316
[N]:插入式,接液膜片哈氏合金C/插入長度150mm/筒體材質不銹鋼316
⑤填充液
[S]:硅油/-30~200℃
[H]:高溫硅油/-10~350℃
[L]:超低溫填充液/-100~100℃
[V]:植物油/0~250℃
[F]:氟油/-30~260℃
⑥毛細管長度|毛細管材質
[01]:1m/不銹鋼304
[02]:2m/不銹鋼304
[03]:3m/不銹鋼304
[04]:4m/不銹鋼304
[05]:5m/不銹鋼304
[06]:6m/不銹鋼304
[07]:7m/不銹鋼304
[08]:8m/不銹鋼304
[09]:9m/不銹鋼304
[10]:10m/不銹鋼304
[51]:1m/不銹鋼316
[52]:2m/不銹鋼316
[53]:3m/不銹鋼316
[54]:4m/不銹鋼316
[55]:5m/不銹鋼316
[56]:6m/不銹鋼316
[57]:7m/不銹鋼316
[58]:8m/不銹鋼316
[59]:9m/不銹鋼316
[60]:10m/不銹鋼316
⑦毛細管部件特性
[N]:無
[P]:帶PVC保護層毛細管
⑧接液法蘭膜盒面形式(可多選)
[NN]:無(溫度≤260℃)
[22]:DN50/2″上涂PFA(過氟烷基化物)(溫度≤260℃)
[23]:DN80/3″上涂PFA(過氟烷基化物)(溫度≤260℃)
[24]:DN100/4″上涂PFA(過氟烷基化物)(溫度≤260℃)
[32]:DN50/2″膜片貼PTFE膜(聚四氟乙烯膜)[2](溫度≤200℃)
[33]:DN80/3″膜片貼PTFE膜(聚四氟乙烯膜)[2](溫度≤200℃)
[34]:DN100/4″膜片貼PTFE膜(聚四氟乙烯膜)[2](溫度≤200℃)
[52]:DN50/2″316L上涂PFA(過氟烷基化物)(溫度≤260℃)(插入深度50mm)
[53]:DN80/3″316L上涂PFA(過氟烷基化物)(溫度≤260℃)(插入深度50mm)
[54]:DN100/4″316L上涂PFA(過氟烷基化物)(溫度≤260℃)(插入深度50mm)
[55]:DN50/2″316L上涂PFA(過氟烷基化物)(溫度≤260℃)(插入深度100mm)
[56]:DN80/3″316L上涂PFA(過氟烷基化物)(溫度≤260℃)(插入深度100mm)
[57]:DN100/4″316L上涂PFA(過氟烷基化物)(溫度≤260℃)(插入深度100mm)
[58]:DN50/2″316L上涂PFA(過氟烷基化物)(溫度≤260℃)(插入深度150mm)
[59]:DN80/3″316L上涂PFA(過氟烷基化物)(溫度≤260℃)(插入深度150mm)
[60]:DN100/4″316L上涂PFA(過氟烷基化物)(溫度≤260℃)(插入深度150mm)
[06]:防真空處理[3](溫度≥120℃,工作壓力≤50kPa abs.)
[72]:DN50/2″316L上鍍金
[73]:DN80/3″316L上鍍金
[74]:DN100/4″316L上鍍金
[08]:禁油處理
單法蘭液位變送器選型舉例
例:YR-ER101-BC0A1LNNNNN2N1CN[5],LT-H1FSNN
[B]:基本誤差±0.075%
[C]:量程為0-4kPa~40kPa(0-40~4000mmH2O)/(0-40~400mbar)
[0]:無靜壓傳感器
[A]:接液部分為不銹鋼 316L 膜片,填充液為硅油
[1]:額定工作壓力為16MPa
[LN]:1/4英寸NPT的過程連接接口,7/16英寸UNF螺紋安裝孔,泄放閥裝于法蘭后部端面
[N]:接液密封圈為丁腈橡膠(NBR)
[N]:特殊功能無
[N]:安裝支架無
[N]:負腔過程連接附件無
[2]:LCD背光液晶顯示
[N]:基本型(非防爆變送器)
[1]:位號標于銘牌內
[C]:中文使用說明書
[N]:鋁合金殼體,電氣接口M20×1.5
-----------------
[LT-]:高壓側接液密封裝置為液位法蘭(無毛細管)
[H]:DN80(DIN 2501)法蘭口徑,RF型DN2526 密封面形式,不銹鋼316L膜片
[1]:PN1MPa/4MPa(DIN 2501)法蘭壓力等級
[F]:接液面為扁平式膜盒
[S]:填充液為硅油
[NN]:接液法蘭膜盒面無特殊處理
注1:在對液位密封裝置選型時,應先完成YR-ER101差壓變送器本體部分的選型;
注2:單法蘭液位變送器膜片貼PTFE膜,即F膜片,可適用于大于絕對壓力50kPa的負壓測量,但只適用于扁平式液位法蘭
注3:當單法蘭液位變送器測量壓力或工作靜壓<50kPa(絕對壓力),應在⑥項選擇選項06,以保證性能;
注4:當測量壓力或工作靜壓<50kPa(絕對壓力)時,應在⑧項選擇選項06,以保證性能;
注5:液位變送器的最小量程應為表1和表2中最小量程的較大值。調節的量程不得小于最小量程;為了使單法蘭液位變送器性能最優,應選擇量程比<10:1。
